• Home
  • 写文
  • 关于
    • jlweb Blog photo

      jlweb Blog

      occupied with moon theme of jelly

    • 详情
    • Github
    • Steam
  • 文章
    • 所有文章
    • 所有标签
  • 项目
  • 主站
search clear

TCP三次握手过程:

  • 第一次握手:客户端发送一个带有 SYN 标志的数据包给服务器,表明客户端请求建立连接,并设定客户端的初始序列号。
  • 第二次握手:服务器收到客户端的 SYN 数据包后,会发送一个带有 SYN/ACK 标志的数据包给客户端,表示同意建立连接,同时设定服务器的初始序列号。
  • 第三次握手:客户端收到服务器的 SYN/ACK 数据包后,再发送一个带有 ACK 标志的数据包给服务器,表示确认建立连接。服务器收到这个 ACK 数据包后,连接建立完成,可以开始数据传输。

    TCP四次挥手过程:

  • 第一次挥手:客户端发送一个带有 FIN 标志的数据包给服务器,表示要关闭连接。
  • 第二次挥手:服务器收到客户端的 FIN 数据包后,发送一个带有 ACK 标志的数据包给客户端,表示收到了关闭请求,但还没有准备好关闭连接。
  • 第三次挥手:服务器完成对数据的处理后,发送一个带有 FIN 标志的数据包给客户端,表示服务器准备好关闭连接。
  • 第四次挥手:客户端收到服务器的 FIN 数据包后,发送一个带有 ACK 标志的数据包给服务器,表示确认收到关闭请求。服务器收到这个 ACK 数据包后,连接关闭。

    建立连接需要三次握手,而断开连接需要四次挥手的原因:

  • 建立连接时,三次握手是为了确保双方的通信能力和可达性,以避免由于网络问题或服务器资源限制等原因造成无效连接的建立。
  • 断开连接时,四次挥手是因为 TCP 是全双工通信协议,双方都可以同时发送和接收数据。在关闭连接时,双方需要分别通知对方自己不再发送数据,然后等待对方确认,确保数据的完整传输。

    TIME_WAIT状态持续时间及引入原因:

  • TIME_WAIT 状态是在 TCP 连接关闭后,等待一段时间的状态。持续时间通常是 2MSL(Maximum Segment Lifetime,最大报文段生存时间)。MSL 是一个估算的时间值,表示一个数据包在网络中能够存活的最长时间。2MSL 的目的是确保在网络中的所有延迟、重传等导致的滞留数据都能被清除,以防止在新的连接中出现旧的数据包。
  • TIME_WAIT 状态的原因是为了处理网络中可能滞留的数据,防止出现旧连接的数据包干扰新连接的建立和通信。
  • 为什么需要time_wait状态? TIME_WAIT(2MSL)1. 确保最后一个确认报文段能够到达。如果 B 没收到 A 发送来的确认报文段,那么就会重新发送连接释放请求报文段,A 等待一段时间就是为了处理这种情况的发生。

2.** 可能存在“已失效的连接请求报文段(旧的连接序列号对不上)”**,为了防止这种报文段出现在本次连接之外,需要等待一段时间。防止串话。

(因为在Linux上一个TCP端口不能被同时打开多次,当一个TCP连接处于TIME_WAIT状态时,我们无法立即使用该连接端口来建立新的连接,这样就防止了串话)

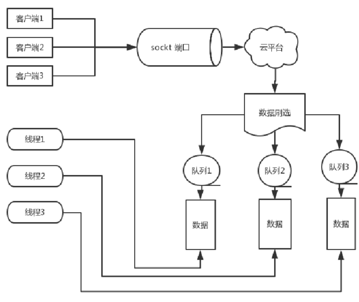
UDP并发如何实现?

  • 对于TCP 服务器来说,有一个新的客户端连接的时候,会产生一个新的socket用于和新客户端通信。而对于UDP来说,服务器只有一个socket。所有的客户端都是通过同一个socket进行通信。
  • 方式一:随机端口,tftpd 程序采用的是随机端口的方式。也就是说如果有一个新的客户端过来,服务器会再随机绑定一个端口号,生成一个新的socket和客户端通信。缺点:数量有限,占用端口。
  • 方式二:数据队列方式,引入三类线程分别处理listen、recv、handle;分别是监听新客户端插入新的队列;recv对已连接客户端新数据进行入队;handle,由listen后创建的线程,专一处理某客户端数据。

image.png

TCP首部长度,有哪些字段:

  • TCP 首部长度可变,最小长度为 20 字节,最大长度为 60 字节。其中常见的字段有:
    • 源端口号和目标端口号:用于标识通信的应用程序。
    • 序列号和确认号:用于可靠传输和确认数据的传输情况。
    • 数据偏移:指示 TCP 首部的长度,以 4 字节为单位。
    • 标志位:包括 SYN、ACK、FIN、RST 等,用于控制连接的建立和关闭。
    • 窗口大小:用于流量控制。
    • 校验和:用于检测首部和数据的错误。
    • 紧急指针:用于指示紧急数据的位置。

      TCP在listen时的参数backlog的意义:

  • 在 TCP 服务器端调用 listen 函数时,backlog 参数指定了服务器等待连接队列的最大长度。当有新的客户端连接请求到达服务器端,服务器会将其放入等待连接队列,然后逐个处理队列中的连接请求。
  • 如果队列已满(即等待连接的数量达到了 backlog 的上限),新的连接请求将被服务器拒绝或忽略,直到队列中有连接被处理并释放出空间。
  • 因此,backlog 参数可以影响服务器的并发能力和连接处理效率。合理设置 backlog 可以根据服务器的负载和处理能力来平衡连接的处理。

    Accept发生在三次握手的哪一步?三次握手完成后

  • accept 是在服务器端等待并接受客户端连接的函数。它实际上是在服务器的被动打开套接字上调用,该套接字通过 listen 函数预先设置好了队列,用于存放等待连接的客户端。
  • 当客户端发起连接请求并完成三次握手后,服务器端的 accept 函数会从等待连接队列中取出一个连接请求,并创建一个新的套接字用于与客户端通信,然后返回这个新的套接字的文件描述符。

    三次握手过程中有哪些不安全性

    在TCP的三次握手过程中,存在一些潜在的不安全性,尽管这些情况在实际网络环境中较为罕见,但仍值得考虑:

    1. SYN 攻击(SYN Flood):恶意的攻击者可能发送大量的伪造SYN包给服务器,导致服务器不断响应并建立半连接状态(SYN_RCVD),从而消耗服务器资源,使其无法处理正常的连接请求。
    2. 连接劫持(Connection Hijacking):在三次握手过程中,如果攻击者能够截获并修改客户端的SYN包,将其发送给另一个目标,就可以在客户端和伪造目标之间建立连接,绕过正常的三次握手过程。
    3. SYN-ACK 攻击:在第二次握手时,攻击者可能伪造服务器的SYN-ACK响应,发送给客户端,导致客户端误以为连接已建立。这样,客户端会发送ACK确认包,但实际上连接并没有建立。
    4. Land 攻击 , 当一个主机向服务器发送SYN请求连接,服务器回复ACK和SYN后,攻击者截获ACK和SYN。然后伪装成原始主机继续与服务器进行通信 , 目标地址和源地址都是目标本身,自己联系自己

    为了应对这些潜在的不安全性,TCP协议和实现通常会采取一些防护措施,例如使用 SYN Cookie 技术来防范 SYN 攻击、使用随机化的初始序列号(ISN)来增加连接的安全性、使用加密技术防范连接劫持等。此外,防火墙和入侵检测系统也可以用于监测和抵御一些恶意的连接请求。尽管存在潜在的不安全性,TCP的三次握手过程在实际应用中仍然被广泛使用,并且被认为是可靠的连接建立方式。

TCP与UDP的区别

TCP(传输控制协议)和UDP(用户数据报协议)是两种常用的传输层协议,用于在计算机网络中传输数据。它们之间有以下主要区别:

  1. 连接与非连接:
    • TCP是面向连接的协议。在数据传输之前,必须先建立连接,通过三次握手确认连接的建立,然后才能进行数据传输,确保数据的可靠性。
    • UDP是面向无连接的协议。在数据传输之前不需要建立连接,直接将数据发送出去,没有确认机制,不保证数据的可靠性。
  2. 可靠性:
    • TCP提供可靠的数据传输。它通过确认、重传和流量控制等机制确保数据的可靠传输,数据不会丢失、重复或失序。
    • UDP提供不可靠的数据传输。它没有确认和重传机制,一旦数据发送出去就不再关心,数据可能会丢失或失序,也不会有重传。
  3. 传输效率:
    • TCP的传输效率较低。由于建立连接和数据确认等机制,TCP的开销较大,适用于对数据可靠性要求较高的应用场景。
    • UDP的传输效率较高。由于没有连接建立和确认机制,UDP的开销较小,适用于对实时性要求较高的应用场景。
  4. 顺序性:
    • TCP保证数据的顺序性。TCP会按照数据的顺序进行发送和接收,确保数据按照发送的顺序进行传输。
    • UDP不保证数据的顺序性。UDP发送的数据包之间没有固定的顺序,可能会出现乱序的情况。
  5. 流量控制:
    • TCP提供流量控制机制。它通过滑动窗口算法来控制发送方的发送速率,避免发送过快导致接收方缓冲区溢出。
    • UDP没有流量控制机制。发送方会以最大速率发送数据,无法控制接收方的处理能力。
  6. 适用场景:
    • TCP适用于对数据可靠性要求高的场景,如文件传输、电子邮件等。
    • UDP适用于对实时性要求高、允许数据丢失的场景,如实时视频、语音通话等。